Zabezpečenie kvality a hygieny pitnej vody v budovách: Pasívne systémy
Přehrát audio verzi
Zabezpečenie kvality a hygieny pitnej vody v budovách: Pasívne systémy
00:00
00:00
1x
- 0.25x
- 0.5x
- 0.75x
- 1x
- 1.25x
- 1.5x
- 2x
Kvalita a hygiena pitnej vody je v súčasnosti veľmi aktuálnou témou nielen z hľadiska ohrevu pitnej vody, ale tiež nežiadúceho prehrievania studenej vody v potrubí. Riziko rozmnožovania choroboplodných baktérií a mikroorganizmov vo vodovodnom potrubí je vzhľadom na zvyšujúce sa teploty v budovách veľmi vysoké, hlavne v prípadoch stagnácie vody. Technické riešenia, ktoré zabezpečujú požadované hygienické vlastnosti pitnej vody, môžeme rozdeliť do dvoch základných skupín, sú to pasívne alebo aktívne systémy. Článok sa venuje pasívnym, menej investične náročným riešeniam.
1. Úvod
Jednou zo základných vlastností kvalitnej pitnej vody je jej teplota. Aj kvalitná hygienicky nezávadná čistá voda nemusí byť chutná a osviežujúca, ak nemá optimálnu teplotu. Vodovod v budove distribuuje studenú aj teplú vodu s teplotou vody v rozmedzí od 15 °C (SV) až po 55 °C (TV), čo predstavuje riziko množenia rôznych baktérií, napr. Escherichia coli, Pseudomonas aeruginosa, alebo rodu Legionella.Vysoká teplota vzduchu v interiéroch budov a v inštalačných priestoroch, kde sú vedené potrubia s pitnou vodou, predstavujú osobitnú výzvu pre špecializovaných projektantov, realizátorov a prevádzkovateľov budov. Čoraz častejšie sa stretávame s problémom prehrievania studenej pitnej vody v nových viacpodlažných budovách s rozsiahlymi vodovodnými systémami, o čom svedčí nespokojnosť ich užívateľov.
Podľa Vyhlášky MZ SR č. 91/2023 Z. z. [2] je odporúčaná teplota studenej pitnej vody 10 až 12 °C. Je to reálne dosiahnuteľné, ak bežne privádzame vodu z verejného vodovodu do budovy s teplotou už okolo 15 °C? V súčasnosti sa teplota studenej pitnej vody v budovách na odbernom mieste vo výtokovej armatúre pohybuje bežne od 18 do 28 °C, pri stagnácii nad 2 hodiny aj nad 30 °C, čo nezodpovedá požiadavke platnej vyhlášky. Aj podľa STN EN 806-2 platí požiadavka: po 30 s po úplnom otvorení výtokovej armatúry nemá byť teplota studenej vody vyššia než 25 °C. Táto teplota je kompromisom medzi hygienickou požiadavkou – znížiť riziko rozmnožovania baktérií a patogénov vo vodovodnom potrubí ktoré je najvyššie od 25 až 45 °C, (Obr. 1) a zvýšenou tepelnou záťažou v budovách jednak z vonkajšieho externého prostredia ale aj z vnútorného prostredia. Tieto vysoké tepelné záťaže predstavujú rôzne zdroje tepla, elektroinštalácie, vykurovacie sústavy, vetracie a klimatizačné zariadenia a pod. Cieľom návrhu a prevádzky rozvodov studenej vody je zabrániť prehrievaniu studenej vody nad 25 °C, optimálne do 20 °C.
Základnými kritériami zachovania kvality a hygieny pitnej vody – studenej aj teplej sú na prvý pohľad jednoduché požiadavky:
- voda musí prúdiť a je potrebné zabrániť stagnácii,
- studená voda musí zostať studená,
- teplá voda musí zostať teplá.
Nežiadúce zvyšovanie teploty pitnej vody v budovách spôsobuje:
- narastajúce teplota v budovách vplyvom klimatických zmien,
- nedostatočná izolácia potrubia studenej aj teplej vody (SV, TV),
- nevhodné vedenie potrubia v blízkosti potrubia teplej vody a cirkulácie (TV, C), resp. potrubí vykurovania, napr. v šachtách, drážkach, predstenách a pod.,
- stagnácia vody v potrubí (nežiadúce tepelné zisky).
Ako zabrániť prehrievaniu studenej vody?
Technické opatrenia môžeme rozdeliť do 2 skupín:
- pasívne – tepelné izolácie, dostatočná vzdialenosť od teplovodných potrubí, samostatné šachty (pre chladiace a teplovodné potrubia) a pod.,
- aktívne – preplachovanie, cirkulácia, chladenie rozvodov studenej vody.
1. Tepelné izolácie potrubia studenej vody
Základnou požiadavkou proti prehrievaniu studenej pitnej vody a zároveň proti kondenzácii vodných pár na povrchu potrubia je dostatočná kvalita a hrúbka tepelnej izolácie. Doposiaľ nemáme na rozdiel od rozvodov vykurovania a teplej vody [3] predpísané hrúbky tepelných izolácií pre rozvody studenej vody v budovách. Vzhľadom na široký výber technických izolácií v TZB sa musia na rozvody studenej vody podobne ako na všetky chladiace potrubia a zariadenia navrhovať tepelné izolácie s uzavretou bunkovou štruktúrou a s vysokou hodnotou súčiniteľa difúzneho odporu µ, napr. z kaučuku. Odporúčané hrúbky izolácie potrubí studenej pitnej vody podľa DIN 1988-200:2012 – 05 sú v Tab. 1.
| Umiestnenie potrubia | Najmenšia hrúbka tepelnej izolácie pri λθ ≤ 0,04 W/(m.K) |
|---|---|
| Teplota prostredia ≤ 20 °C | |
| 9 mm |
| Teplota prostredia ≤ 25 °C | |
| 13 mm |
| Rúrka v rúrke alebo 4 mm |
| Teplota prostredia ≥ 25 °C | |
| 100 % |
| 50 % |
Ako sa v tabuľke uvádza, v inštalačných šachtách, nad podhľadom, v podlahe vedľa potrubí teplej vody alebo vykurovania v interiéri budov s teplotou prostredia ≥ 25 °C sa odporúča izolovať potrubie studenej vody hrúbkou izolácie v pomere k priemeru potrubia 1:1.
2. Inštalácie potrubí podľa TNI CEN/TR 16355
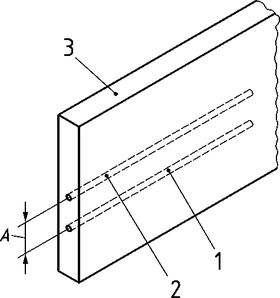
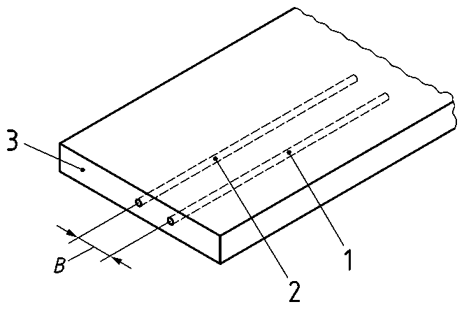
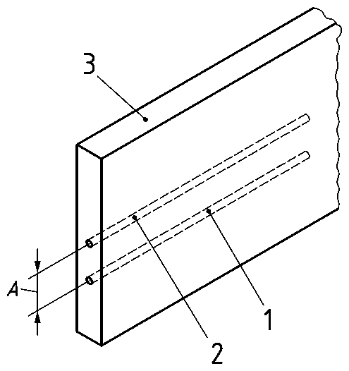
Pri bežných distribučných systémoch vodovodu v budove sa najčastejšie vedú potrubia studenej pitnej vody, teplej vody a cirkulácie spoločne či už na spoločných závesoch pod stropom, alebo nad podhľadmi, v stenách, priečkach, predstenových konštrukciách alebo v podlahe. Základné požiadavky pre navrhovanie trasovania potrubí studenej vody uvádza technická informácia TNI CEN/TR 16355 [4], ktorá bola vypracovaná k požiadavkám ku kmeňovej norme navrhovania vodovodov v budovách STN EN 806 [5]. Vybrané zásady vedenia potrubia vodovodu z hľadiska hygienických požiadaviek a hlavne trasovania potrubia studenej vody podľa TNI CEN/TR 16355 sú na Obr. 2 až 4. V praxi sú však tieto vzdialenosti často fyzicky nedosiahnuteľné. Pri nedodržaní týchto vzdialeností je nevyhnutné použiť nadštandardnú izoláciu (napr. s λθ ≤ 0,035 W/(m.K).
Obr. 2 Minimálna vzdialenosť medzi súbežne vedeným potrubím pitnej vody a rúrkami teplej vody
a – v stene, b – v podlahe
A – minimálna vzdialenosť pri stene s omietkou 125 mm, pri betónovej stene 200 mm,
B – minimálna vzdialenosť pre podlahu s dlažbou 125 mm, pre betónovú podlahu 200 mm
1 – potrubie studenej vody, 2 – teplovodné potrubie, 3 – stena (podlaha) [4]
![Obr. 3 Potrubie pitnej vody v prípade podlahového alebo stenového vykurovania. C – minimálna vzdialenosť podľa Tab. 2. 1 – tepelná izolácia potrubí, 2 – podlahové alebo stenové vykurovanie, 3 – potrubie s pitnou vodou, 4 – stena [4]](/docu/clanky/0297/029726o8.png)
Obr. 3 Potrubie pitnej vody v prípade podlahového alebo stenového vykurovania
C – minimálna vzdialenosť podľa Tab. 2
1 – tepelná izolácia potrubí, 2 – podlahové alebo stenové vykurovanie,
3 – potrubie s pitnou vodou, 4 – stena [4]
![Obr. 4 Potrubia pitnej vody v inštalačnej šachte. 1 – potrubie pitnej vody, 2 – teplovodné potrubie, 3 – miestnosť, 4 – inštalačná šachta, 5 – oddelená „studená“ šachta [4]](/docu/clanky/0297/029726o10.png)
Obr. 4 Potrubia pitnej vody v inštalačnej šachte
1 – potrubie pitnej vody, 2 – teplovodné potrubie, 3 – miestnosť, 4 – inštalačná šachta, 5 – oddelená „studená“ šachta [4]
Tab. 2 Odporúčané minimálne vzdialenosti medzi potrubiami pitnej vody v podlahe a podlahovým vykurovaním (k Obr. 3)

3. Problém vedenia pripájacích potrubí pod omietkou a v predstenách
Najčastejšie sa vedie potrubie studenej vody v blízkosti (súbežne) s potrubím teplej vody, pričom je prívod teplej vody zabezpečený cirkuláciou, udržiavajúcou teplotu TV nad 50 °C. Práve cirkulácia teplej vody predstavuje stály prívod tepla aj do nástenných výtokových armatúr, napr. zmiešavacích batérií, kde sa studená voda prehrieva, Obr. 5a. V prípade, že sa cirkulačný okruh prevádzkuje s teplotami ≥ 60 °C , ako napr. v nemocniciach, hrozí aj nebezpečenstvo popálenia z povrchu nástenných armatúr. Ako je zrejmé z Obr.5a, je možné namerať pri uzavretej armatúre teplotu 46 °C a vyššiu. Ďalej môže dochádzať k prenosu tepla na stranu studenej vody, pretekaniu teplej vody do studenej, vyššej opotrebovateľnosti armatúr a vyššiemu riziku kontaminácie mikroorganizmami. Podľa skúseností ani pri podomietkových variantoch sprchových armatúr neznižuje tento spôsob pripojenia hygienické riziko – práve naopak, vedením tepla sa závažne môže preniesť aj do studenej pitnej vody. Počas stagnácie odberu v noci sa môže studená voda ohriať na 33 °C a viac, čo môže podporiť nárast mikroorganizmov.

b)
![Obr. 5 Uzavretá nástenná armatúra so sériovým pripojením studenej a teplej vody napr. cez dvojité prietokové nástenky počas stagnácie v noci prehreje teplotu studenej vody bežne nad 30 °C. c – dvojitá nástenka [9]](/docu/clanky/0297/029726o15.jpg)
c)
Obr. 5 Uzavretá nástenná armatúra so sériovým pripojením studenej a teplej vody napr. cez dvojité prietokové nástenky počas stagnácie v noci prehreje teplotu studenej vody bežne nad 30 °C
a – nameraná teplota na povrchu pákovej zmiešavacej batérie 46 °C, b – sériové pripojenie SV a TV pomocou dvojitých násteniek, c – dvojitá nástenka [9]
Na základe uvedených fyzikálnych súvislostí sa preto pre studenú vodu bez obmedzenia odporúča pre nástenné a podomietkové armatúry používať radové (sériové) aj okruhové pripojenia s dvojitými nástenkami Obr. 6b, 6c, pre teplú vodu sa však toto pripojenie neodporúča, vhodnejšie je pripojiť sa pomocou jednoduchej nástenky – jednoduchým pripojením s tzv. ochladzovacím úsekom (odbočkou) s dĺžkou 8 až 10× DN potrubia, Obr. 7a. V stojančekových armatúrach sa dá minimalizovať hygienické riziko aj v prípade rekonštrukcií tak, že sa pripájacie potrubie teplej vody vedie v tvare U pred stenou smerom nahor, Obr. 7b.
Obr. 6 Spôsoby vedenia pripájacích potrubí vodovodu
a – pomocou T kusov, b – sériové, c – okruhové
Obr. 7 Ochladzovací úsek nástennej armatúry
a – pre nástennú armatúru, b – pre stojančekovú armatúru [9]
![Obr. 8 Príklad optimalizácie pripojenia studenej vody a teplej vody s cirkuláciou pre nástennú armatúru: studená voda s prietokovou dvojitou nástenkou, teplá voda ako krátka odbočka [9]](/docu/clanky/0297/029726o27.jpg)
Obr. 8 Príklad optimalizácie pripojenia studenej vody a teplej vody s cirkuláciou pre nástennú armatúru: studená voda s prietokovou dvojitou nástenkou, teplá voda ako krátka odbočka [9]
Optimálne pripojenie studenej a teplej vody je na Obr. 8, kde je studená voda pripojená cez dvojitú a teplá cez jednoduchú kotviacu nástenku.
Meracie experimentálne štúdie ukazujú, že chladiace úseky s dĺžkou 8–10 × DN môžu zabrániť kritickému prenosu tepla cez armatúru do studenej pitnej vody a tým sa pri riadnej prevádzke systému zníži alebo do značnej miery odstráni opísané hygienické riziko, Obr. 7, 8. Pri systémovom riešení potrubia vodovodu a kotvenia armatúr do steny alebo predstenovej konštrukcie sú v súčasnosti na trhu aj prefabrikované hygienické boxy pre pripojenie studenej a teplej vody v zmysle hygienických požiadaviek, Obr. 9, 10. Studená voda sa privádza do dvojitej nástenky sériovým pripojením zdola, teplá voda cirkuluje v hornej časti hygienického boxu, pripojená cez jednoduchú odbočku. Potrubia studenej a cirkulujúcej teplej vody vedieme podľa možnosti v čo najväčšej vzdialenosti od seba, napr. studenú vodu nad podlahou v blízkosti kanalizácie a teplú vodu vyššie nad výtokovými armatúrami, Obr. 9c. Pri takomto riešení a pravidelnom odbere vody bez stagnácie môžeme zaručiť, že studená voda bude studená a teplá ostane teplou.
Obr. 9 Hygienický box „TECEflex“, pre studenú a teplú vodu v zmysle hygienických požiadaviek
a – ako jednodielny prvok, b – do predstenovej inštalácie na spoločnej kotviacej lište, c – schéma zapojenia [13]
Obr. 10 Hygienický box f. Kemper pre studenú a teplú vodu v zmysle hygienických požiadaviek
a – izolovaný hygienický box pod omietku alebo do predsteny, b – schéma zapojenia [14]
4. Problém stagnácie vody v potrubí
V budovách, kde sú miestnosti alebo časti budov ako sú napr. neprevádzkované byty, hotelové izby a pod. a voda sa z odberných miest neodoberá, hrozí hygienické riziko. Aj napriek tomu, že sa dodržia odporúčané hrúbky izolácie potrubia studenej pitnej vody a tiež minimálne vzdialenosti od potrubia TV, C a vykurovania, počas stagnácie sa studená voda rýchlo ohrieva. Podľa Obr. 11 sa pri izolácii 1:1 studená pitná voda so začiatočnou teplotou 10 °C ohreje na teplotu 20 °C po 11 hodinách alebo 7 hodinách. Normatívne hygienicky kritický limit 25 °C sa dosiahne pri teplote okolia 24 °C po 19 hodinách stagnácie. Pri polovičnej hrúbke izolácie sa časové rozpätie skracuje na 7,5 alebo 12 hodín (Obr. 12). Väčšia hrúbka izolačnej vrstvy preto prináša len oneskorenie, ale problém nerieši [6]. Okrem toho začiatočná teplota studenej vody privedenej do objektu sa často pohybuje už nad 15 °C, pričom teplota vzduchu v šachte môže byť väčšia než 30 °C, takže čas prehrievania sa skráti. Počas noci sa môže studená voda ohriať v letnom období aj nad 30 °C už za 2 hodiny, čo môže podporiť nárast mikroorganizmov.
![Obr. 11 Prehrievanie studenej vody (10 °C) v izolovanom potrubí so 100% izoláciou v šachte s teplotou 20 °C (zelená) a 24 °C (fialová) [6]](/docu/clanky/0297/029726o39.png)
Obr. 11 Prehrievanie studenej vody (10 °C) v izolovanom potrubí so 100% izoláciou v šachte s teplotou 20 °C (zelená) a 24 °C (fialová) [6]
![Obr. 12 Prehrievanie studenej vody (10 °C) v izolovanom potrubí s 50% izoláciou v šachte s teplotou 20 °C (zelená) a 24 °C (fialová) [6]](/docu/clanky/0297/029726o41.png)
Obr. 12 Prehrievanie studenej vody (10 °C) v izolovanom potrubí s 50% izoláciou v šachte s teplotou 20 °C (zelená) a 24 °C (fialová) [6]
5. Oddelené šachty – studená a teplá
Jedným z účinných spôsobov tzv. pasívneho riešenia – eliminovať nežiadúci prenos tepla do potrubia so studenou vodou je oddeliť toto potrubie od teplovodných potrubí deliacou stenou podľa Obr. 4, alebo navrhovať samostatné oddelené šachty pre teplonosné a chladiace potrubia. V súčasnosti sa navrhujú spoločné šachty podľa Obr. 13, kde sú vedené všetky potrubia vodovodu, vykurovania, kanalizácie a tiež vetrania spoločne tesne vedľa seba bez rozdielu teploty teplonosnej alebo chladiacej látky. Bolo by však vhodnejšie viesť potrubia samostatne podľa teploty prúdiacich látok a vytvoriť samostatnú, tzv. „studenú“(chladiacu) a samostatne „teplú“ (teplovodnú) šachtu, Obr. 14.
![Obr. 13 Súčasný stav: všetky potrubia spolu, zľava doprava: prívodné a vratné potrubie vykurovania, potrubie cirkulácie TV a potrubie TV, odsávacie vetracie potrubie; studená pitná voda, odpadové kanalizačné potrubie; izolácie potrubia podľa predpisov [7]](/docu/clanky/0297/029726o43.png)
Obr. 13 Súčasný stav: všetky potrubia spolu, zľava doprava: prívodné a vratné potrubie vykurovania, potrubie cirkulácie TV a potrubie TV, odsávacie vetracie potrubie; studená pitná voda, odpadové kanalizačné potrubie; izolácie potrubia podľa predpisov [7]
![Obr. 14 Optimalizovaný stav: samostatné šachty (teplá/studená voda) chránené pred prenosom tepla a / alebo zvýšením teploty nad kritickú hranicu > 20/25 °C, ľavá šachta: odsávacie vetracie potrubie, studená pitná voda, odpadové kanalizačné potrubie; pravá šachta: potrubie TV a potrubie cirkulácie TV, prívodné a vratné potrubie vykurovania; izolácie potrubia podľa predpisov [7].](/docu/clanky/0297/029726o45.jpg)
Obr. 14 Optimalizovaný stav: samostatné šachty (teplá/studená voda) chránené pred prenosom tepla a / alebo zvýšením teploty nad kritickú hranicu > 20/25 °C, ľavá šachta: odsávacie vetracie potrubie, studená pitná voda, odpadové kanalizačné potrubie; pravá šachta: potrubie TV a potrubie cirkulácie TV, prívodné a vratné potrubie vykurovania; izolácie potrubia podľa predpisov [7].
Záver
Hygiena a tým aj zachovanie kvality pitnej vody evidentne na mnohých miestach ešte nie je pod kontrolou. Už niekoľko rokov pribúdajú správy o kritických nálezoch, najmä v nemocniciach a opatrovateľských ústavoch, s kontamináciou nežiaducimi baktériami, napríklad Legionella pneumophila alebo Pseudomonas aeruginosa – a stále viac v potrubných systémoch na studenú pitnú vodu. V starších budovách, kde boli potrubia vedené v drážkach a v menej vyhriatych miestnostiach, bola teplota studenej vody zachovaná. V súčasnosti sa jej teplota v moderných budovách zvyšuje a v odberných miestach na výtokoch nemá požadovanú teplotu. Aj pri nesprávnom návrhu dimenzií potrubí (napr. zjednodušená metodika dimenzovania podľa STN EN 806-3) dochádza k predimenzovaniu priemeru potrubia. Príliš veľké priemery vedú k väčšiemu objemu vody, dlhšiemu času zdržania (stagnácii) vody a tým k rýchlejšiemu prehrievaniu. Možností preventívnych opatrení je viacero – sú to tzv. pasívne alebo aktívne technické riešenia. Pasívne riešenia, uvedené v článku sú menej nákladné, pri aktívnych systémoch, akým je nútená cirkulácia alebo chladenie pitnej vody sa zvyšujú aj energetické požiadavky.
Článok bol spracovaný v rámci projektu VEGA č. 1/0482/25.
Literatúra
- Smernica EP a Rady EÚ č. 2020/2184 zo 16. decembra o kvalite vody určenej na ľudskú spotrebu.
- Vyhláška MZ SR č. 91/2023 Z. z., ktorou sa ustanovujú ukazovatele a limitné hodnoty kvality pitnej vody a kvality teplej vody, postup pri monitorovaní pitnej vody, manažment rizík systému zásobovania pitnou vodou a manažment rizík domových rozvodných systémov.
- Vyhláška MH SR č. 14/2016 Z. z., ktorou sa ustanovujú technické požiadavky na tepelnú izoláciu rozvodov tepla a teplej vody.
- TNI CEN/TR 16355: Preventívne opatrenia proti rozmnožovaniu baktérie Legionella vo vodovodných potrubiach na pitnú vodu vnútri budov.
- STN EN 806: Technické podmienky na zhotovovanie vodovodných potrubí na pitnú vodu vnútri budov. Časť 1. Všeobecne, Časť 2. Navrhovanie, Časť 3. Dimenzovanie potrubia – zjednodušená metóda, Časť 4. Montáž, Časť 5. Prevádzka a údržba.
- Schulte, W.: Planungspraxis für Trinkwassergüte in Gebäuden. In: C. Kistemann, Schulte W., Rudat K., Hentschel W., Häußermann D. (Hrsg.): Gebäudetechnik für Trinkwasser, Springer Verlag Berlin, S. 167–275, 2012.
- Schauer C. et al.: Hygiene in Potable Water Installations in Buildings. European Guidebook No 30 – 2019. Brussels, Belgium. 2019.
- Exner M.: Hygiene in Trinkwasser-Installationen. Erfahrungen aus Deutschland. Legionellen – Fachgespräch, 2009.
- Aplikační technika – 2. vydání. Svazek II: Plastové potrubní systémy, předstěnová a odvodňovací technika. Viega Attendorn, 2017.
- DIN 1988-200:2012 – 05 Technische Regeln für Trinkwasser-Installationen – Teil 200: Installation Typ A (geschlossenes System) – Planung, Bauteile, Apparate, Werkstoffe; Technische Regel des DVGW.
- Peráčková, J.: Pitná voda – potravina č. 1. Ako si udržať jej kvalitu v budove? In: TZB Haustechnik, 03/2019
- Macková, D.–Peráčková, J.: Zabezpečenie hygieny pitnej vody v pripájacom potrubí vodovodu. In: TZB Haustechnik, 05/2019.
- Technické podklady f. TECE.
- Technické podklady f. KEMPER.







![Obr. 7 Ochladzovací úsek nástennej armatúry. a – pre nástennú armatúru [9]](/docu/clanky/0297/029726o23.png)
![Obr. 7 Ochladzovací úsek nástennej armatúry. b – pre stojančekovú armatúru [9]](/docu/clanky/0297/029726o25.png)
![Obr. 9 Hygienický box „TECEflex“, pre studenú a teplú vodu v zmysle hygienických požiadaviek. a – ako jednodielny prvok [13]](/docu/clanky/0297/029726o29.jpg)
![Obr. 9 Hygienický box „TECEflex“, pre studenú a teplú vodu v zmysle hygienických požiadaviek. b – do predstenovej inštalácie na spoločnej kotviacej lište [13]](/docu/clanky/0297/029726o31.jpg)
![Obr. 9 Hygienický box „TECEflex“, pre studenú a teplú vodu v zmysle hygienických požiadaviek. c – schéma zapojenia [13]](/docu/clanky/0297/029726o33.png)
![Obr. 10 Hygienický box f. Kemper pre studenú a teplú vodu v zmysle hygienických požiadaviek. a – izolovaný hygienický box pod omietku alebo do predsteny [14]](/docu/clanky/0297/029726o35.jpg)
![Obr. 10 Hygienický box f. Kemper pre studenú a teplú vodu v zmysle hygienických požiadaviek. b – schéma zapojenia [14]](/docu/clanky/0297/029726o37.jpg)